How do CasaYacht Yacht Homes work? |
||||||||||||||
![]() |
||||||||||||||
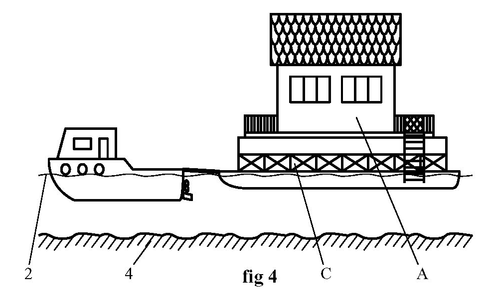
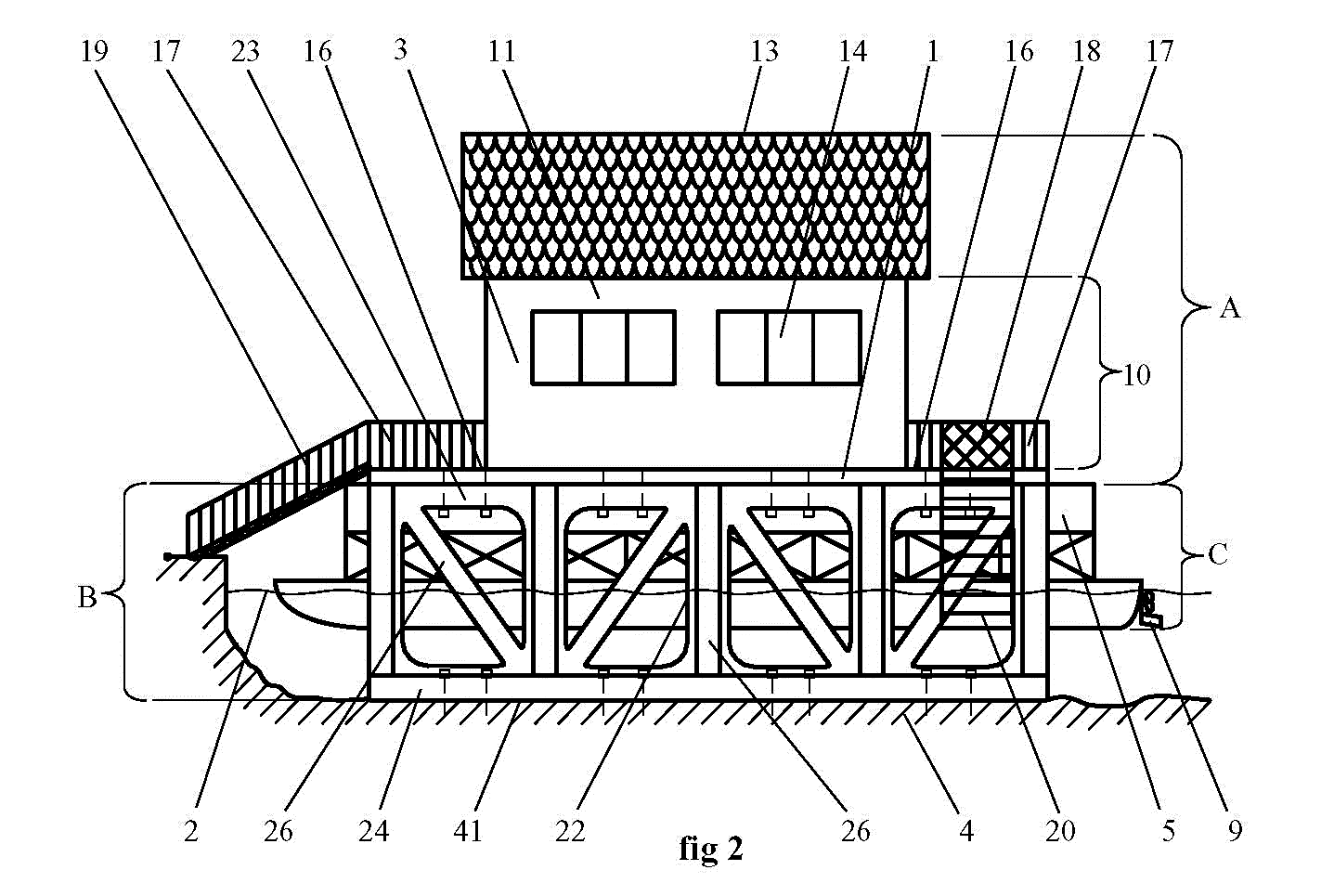
CasaYacht Yacht Homes usually sit on the bottom of the water, inside specially configured marinas. |
||||||||||||||
![]() |
||||||||||||||
The CasaYacht Yacht Homes can also float and navigate on their time-shared removable floating docks with variable buoyancy, being tugged, or under their own propulsion. |
||||||||||||||
Next Page |
||||||||||||||
Previous Page |
||||||||||||||